一位律师的六年深度使用笔记:我的"全天候律师助理"
作者:陈尧鑫(广东省中山市执业律师)
执业背景:
我于2018年踏入律师行业,2019年进入实习律师阶段,2020年正式执业至今。实习期间,因带教师父承办大量批量性系列案件,需反复进行机械性的文书录入与案件台账管理工作。为提升效率、保障工作质量,我先后试用了多款律师案件管理系统,最终选定"案件云"并沿用至今。
多年来,案件云始终紧跟诉讼政策动态持续优化升级,从多维度为律师日常工作提供精准辅助,成为我执业路上不可或缺的得力助手。

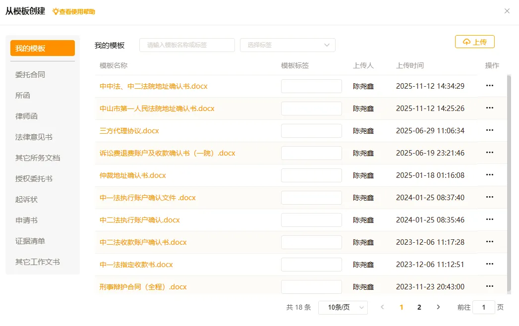
民商事诉讼律师日常需制作代理合同、授权委托书、所函、接案笔录、风险告知书等常规文书,还需适配各地法院要求的地址确认书、账户确认书等标准化文件。
这类工作往往需要反复录入双方当事人信息,不仅耗时费力,还容易出现错别字等疏漏。
案件云的文书模板功能彻底解决了这一痛点。通过系统字段参照表或自定义字段功能,可将当事人名称、联系方式、标的额等常用信息设置为固定字段代码。
只需将代码嵌入Word模板并上传至系统模板库,创建案件时填写并核对相关要素信息,即可从文书库一次性生成全套标准化文书。
既大幅节省了文书制作时间,又有效避免了信息录入错误,是我使用频率最高也最为青睐的功能。
对诉讼律师而言,"忘记开庭"时间是严重的工作失误,可能给委托人造成重大经济损失。
相较于传统纸质日历或手机自带日历的登记方式,案件云的云日程表更贴合律师工作需求。
该功能实现了网页端、微信小程序、手机APP的数据实时共享,收到开庭传票后,可直接在系统内登记开庭时间、法院法庭、案件关联等详情。
同时,可根据实际需求灵活设置提前提醒时间,从提前10分钟到提前2天不等,系统会通过微信及时推送提醒,确保无论身处何地、使用何种设备,都能随时查看行程,彻底杜绝遗漏开庭或重要工作安排的情况。
以珠三角地区为例,基层法院办案压力巨大,法官人均未结案件量已达650-700件,案件审理周期常超出财产保全期限,需及时向法院申请续封直至案件办结。
根据法律规定,银行存款冻结期限为一年,动产查封期限为两年,不动产查封期限为三年,不同类型财产的保全要求各不相同。
律师手头案件类型繁杂、所处阶段各异,若未能妥善管理保全情况,极易出现"脱保"问题。
案件云的财产保全管理功能可精准应对这一需求,支持登记关联案件、申请人与被申请人信息、财产类型、查封日期、保全金额等关键内容,还能通过AI智能表单填充功能简化信息录入。
系统可自定义续封提醒时间,通过微信+邮箱双重渠道推送通知,确保律师及时办理续封手续,有效规避因脱保被当事人问责的风险。
律师费是委托人选择律师服务的重要参考因素,律师行业常见一次性支付、分期付款、全风险提成、半风险提成等多种收费模式。面对大量案件时,仅凭记忆极易出现收费情况混淆、发票开具遗漏等问题。
案件云的财务登记功能为律师提供了清晰的解决方案,可详细记录对应案件的律师费应收金额、已收金额、未收金额,以及发票开具状态等信息。通过可视化呈现方式,律师能快速掌握每起案件的财务收支情况,既方便与委托人核对账目,也为自身财务管理提供了精准数据支持,彻底告别"好记性不如烂笔头"的繁琐。
2025年起,全国法院陆续推行「要素式起诉状」,这一举措虽规范了立案材料格式,但对法律从业者而言,要素状填写过程繁琐细碎,且部分模板设置未能完全贴合不同案件的实际需求,反而在一定程度上延缓了立案起诉的整体效率。
案件云针对这一痛点,创新推出"传统诉状转要素状"的AI智能功能。无需手动逐一填写要素项,只需上传已有的传统格式起诉状,系统便能自动分析诉状中的核心信息,包括当事人身份、诉讼请求、事实与理由、证据指向等关键内容,进而自主匹配要素状的规范字段,完成信息填充。
最终只需一键确认,即可生成符合法院要求的要素式起诉状,大幅减少了人工填写的时间成本与出错概率,让立案准备工作更高效顺畅。
从实习律师到执业律师的数年时光里,案件云始终以"高效、精准、贴心"的特性,陪伴我应对批量案件文书处理、密集开庭行程、复杂财产保全管理等各类工作挑战。